ล่าสุดมีการเปิดเผยสิทธิบัตรของ Apple ว่าด้วย เทคโนโลยีจอ Privacy เพิ่มความเป็นส่วนตัว ป้องกันการมองเห็นหน้าจอจากด้านข้าง
เทคโนโลยีจอ Privacy เพิ่มความเป็นส่วนตัว
สำหรับหน้าจอแบบ Privacy ป้องกันการมองเห็นหน้าจอจากด้านข้างนั้น เราจะคุ้นเคยกันดีและเห็นผ่านตามาบ้าง เช่น ฟิล์มกระจก 3D Privacy จาก Hi-Shield ที่วางขายอยู่ แต่ Apple ได้จดสิทธิบัตรและคาดว่ากำลังพัฒนาเทคโนโลยี Privacy เพื่อใช้ร่วมกับหน้าจอของอุปกรณ์เช่นกัน

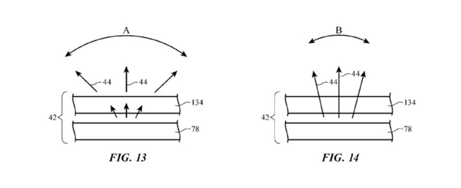
ที่น่าสนใจ คือ ในใจความสำคัญของสิทธิบัตรนั้น พูดถึงเทคโนโลยี การเปิด-ปิด Filter Privacy ที่ผู้ใช้สามารถเลือกเปิด-ปิดใช้งานตามสภาพแวดล้อมได้ เช่น หากเราอยู่ในพื้นที่ที่มีคนแออัด ก็สามารถเปิดโหมด Privacy เพื่อป้องกันการมองเห็นหน้าจอจากด้านข้างได้

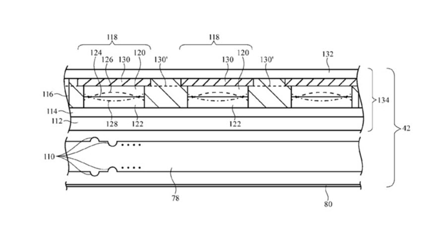
สำหรับเทคโนโลยีนี้มีการบรรยายว่า จะใช้เทคโนโลยีระหว่าง ผลึกเหลว (Liquid Crystal) และระดับแสงไฟของ Backlight ในการควบคุม ซึ่งหน้าจอ LED สามารถทำได้เช่นกัน แต่จะป้องกันการมองเห็นได้ 178 องศา เท่านั้น

สื่อต่างประเทศมองว่า ยังไม่มีข้อมูลแน่ชัดว่าสิทธิบัตรของ Apple ตัวนี้จะนำไปพัฒนาสำหรับอุปกรณ์ใดบ้าง อาจจะเป็นไปได้เหมือนกันที่ Apple อาจจะพัฒนาเทคโนโลยีนี้ให้กับอุปกรณ์ในอนาคต หรือพัฒนาเป็น แผ่นกรอง หรือตัวกรองแสงขายแยก ใช้ร่วมกับอุปกรณ์ที่มีจอ LCD ก็เป็นได้
ขอบคุณ – appleinsider, idropnews
