Patently Apple เผยแพร่ข้อมูลสิทธิบัตรของ Apple เกี่ยวการชาร์จไร้สายระหว่างอุปกรณ์ Apple ไม่ว่าจะเป็น iPhone, iPad, MacBook และ Apple Watch
พบสิทธิบัตรการชาร์จไร้สายระหว่างอุปกรณ์ Apple
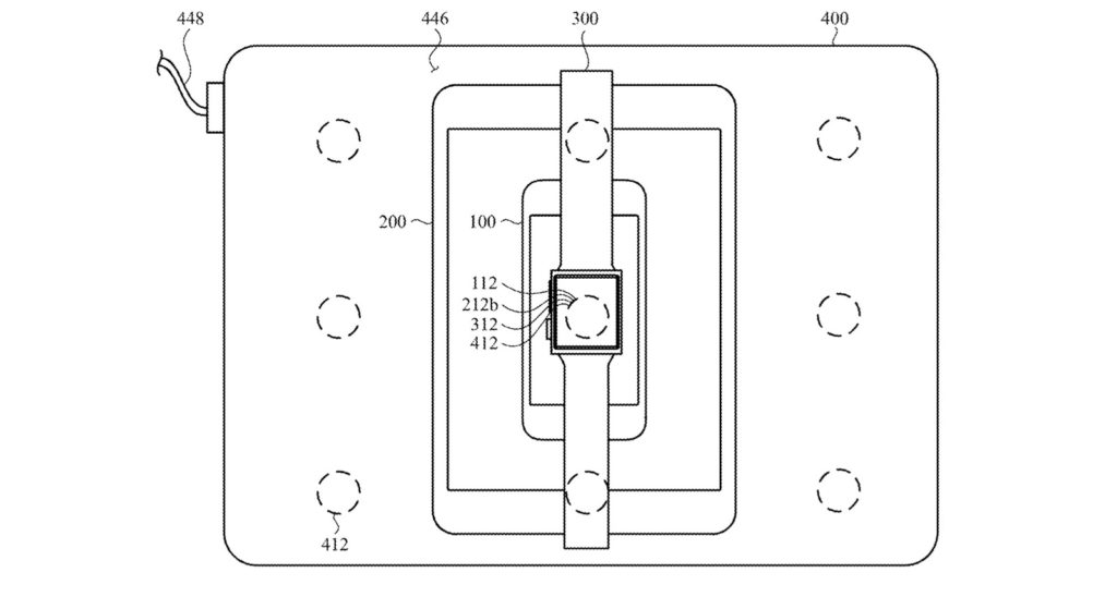
Apple ได้วิจัยเกี่ยวกับเทคโนโลยีการชาร์จไร้สายระหว่างอุปกรณ์มาตั้งแต่ปี 2016 และยื่นจดสิทธิบัตรมามากกว่า 40 รายการ ซึ่งสิทธิบัตรที่พบล่าสุดนี้ก็เป็นสิทธิบัตรเกี่ยวกับการชาร์จไร้สายระหว่างอุปกรณ์ของ Apple ด้วยการวางการขดลวดบนอุปกรณ์หลาย ๆ จุด

การไร้ชาร์จไร้สายระหว่างในสิทธิบัตรระบุว่าอุปกรณ์สามารถจ่ายไฟและรับการชาร์จได้ โดยจะมีซอฟต์แวร์ที่วิเคราะห์ว่าอุปกรณ์ไหนควรจะเป็นตัวจ่ายไฟ
ซึ่ง Apple พยายามจัดวางตำแหน่งของขดลวดสำหรับชาร์จบนอุปกรณ์ อย่างเช่น วางขดลวดไว้ทั้งด้านหน้าและด้านหลังของ iPad เพื่อสามารถชาร์จร่วมกับอุปกรณ์อื่นได้ทั้งสองด้าน

แต่ถึงแม้ว่าอุปกรณ์จะชาร์จร่วมกันได้ทั้งหมด แต่แหล่งจ่ายไฟจะต้องมาจากแหล่งเดียว เช่น Apple Watch จะชาร์จจาก iPhone ส่วน iPhone ชาร์จจาก iPad ส่วน iPad ชาร์จจาก MacBook และ MacBook ก็ชาร์จไฟจากสายเคเบิ้ล ซึ่งมีแหล่งจ่ายไฟเพียงแหล่งเดียว

นอกจากนี้ Apple กำลังคิดค้นซอฟต์แวร์ที่จะแสดงผลเปอร์เซ็นต์แบตเตอรี่ของอุปกรณ์ที่ชาร์จไฟบนอุปกรณ์ที่จ่ายไฟ เช่น นำ Apple Watch ไปชาร์จบนจอ iPad บนหน้าจอ iPad ก็จะแสดงเปอร์เซ็นต์การชาร์จแบตเตอรี่ของ Apple Watch และยังได้คิดค้นซอฟต์แวร์ที่เปลี่ยนแปลงหน้าตาการแสดงผลเมื่อนำ iPhone มาชาร์จบน iPad โดยส่วนที่โดน iPhone บังหน้า iPad ก็จะแสดงบน iPhone แทน

และในสิทธิบัตรยังได้อ้างอิงระบบแม่เหล็กที่จัดตำแหน่งการชาร์จของอุปกรณ์เหมือนกับ MagSafe ที่อยู่ใน iPhone 12 ทำให้การชาร์จตรงตำแหน่งมากขึ้น แต่ยังไม่แน่ชัดว่า Apple จะจัดการปัญหาเรื่องของความอย่างไร
ข้อมูลสิทธิดังกล่าวก็เป็นเพียงสิทธิบัตรที่จดไว้เท่านั้น ยังไม่ใช่การผลิตอุปกรณ์จริง แต่การมีเทคโนโลยี MagSafe ชี้ให้เห็นว่า Apple กำลังสนใจในเรื่องการชาร์จไร้สายอยู่ คาดว่าเราจะได้เห็นอุปกรณ์นี้ในอนาคต รอติดตามกันนะคะ
ขอบคุณ macrumors
