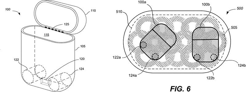
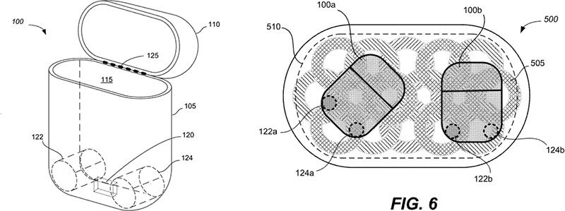
มีการรายงานข้อมูลสิทธิบัตรของ Apple ว่าด้วยฟีเจอร์ของ กล่อง AirPods ที่สามารถวางชาร์จไร้สายตรงไหนก็ได้บน AirPower
สิทธิบัตรกล่อง AirPods
จริงๆ แล้วข้อมูลในสิทธิบัตรไม่ได้ระบุว่าเป็นกล่อง AirPods และแผ่นชาร์จไร้สาย AirPower แต่ภาพที่ใช้ประกอบนั้นสื่อให้เห็นว่าเป็นอุปกรณ์ทั้งสองรุ่น

ข้อมูลในภาพชี้ให้เห็นภาพกล่อง AirPods ที่มีฟีเจอร์ชาร์จไร้สายและ AirPower ที่มีแผ่น Coil เต็มพื้นที่ และสามารถวางกล่อง AirPods ไว้มุมไหนก็ได้ของ AirPower

รายงานก่อนหน้านี้เผยว่า Apple อาจเปิดขาย AirPower พร้อมกล่อง AirPods รองรับชาร์จไร้สายครึ่งปีแรกของปี 2019 นี้ หลังเลื่อนมาครบ 1 ปีไม่ได้เปิดขายในปี 2018 อย่างไรก็ตามยังไม่มีข้อมูลว่า AirPods และ AirPower จะมีคุณสมบัติการชาร์จเหมือนสิทธิบัตรตัวนี้หรือไม่ ซึ่งก็ต้องรอติดตามกันต่อไป
ที่มา – macrumors
