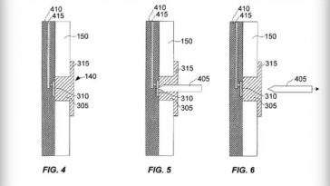
iPhone 6 และ iPhone 6 Plus หากมองดี ๆ จะพบว่าด้านหลังเครื่องเป็นรอยขีด (สีขาวหรือเทา) ทั้งนี้ไม่ใช่เพื่อความสวยงามแต่เป็นความ “จำเป็น” ที่จะต้องมือเพื่อใช้รับสัญญาณไร้สาย (Cellular/WiFi) เนื่องจากหากไม่มีเลย การปล่อยให้วิ่งผ่านอลูมิเนียมจะทำให้คุณภาพด้อยลงมาก
สำหรับสิทธิบัตรใหม่ครั้งนี้จะเป็นเกี่ยวกับเรื่องการพัฒนาวัสดุแบบใหม่ ที่เป็นโลหะผสมกับวัตถุบางอย่างเพื่อให้คลื่นสัญญาณวิทยุสามารถลอดผ่านได้อย่างง่ายดาย ลองนึกถึงภาพ iPhone ที่มีวัสดุเป็นอลูมิเนียมชิดติดกันทั้งเครื่อง ก็ทำให้งานออกแบบเครื่องมีข้อจำกัดน้อยลงแล้วสวยขึ้นนั่นเอและไม่เพียงแค่ iPhone เท่านั้น เพราะสิทธิบัตรนี้ Apple อาจนำไปใช้กับอุปกรณ์อื่นด้วยในอนาคต
… นับว่า Apple ก็ให้ความใส่ใจเหมือนทุกครั้งที่ผ่านมา …
ที่มา – businessinsider

