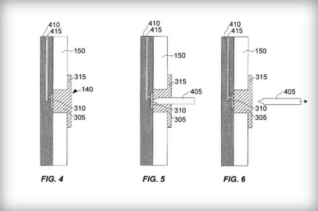
ช่วงนี้ Apple ขยันจดสิทธิบัตรสารพัดแพ้ว่าก่อนหน้านี้บริษัทได้เคยยื่นจดไปเมื่อเดือนมิถุนายน 2014 แต่มันก็ได้ถูกเปิดเผยกับสาธารณะชนในสัปดาห์นี้ด้วยสิทธิบัตรที่มีชื่อว่า “ยางที่ซ่อมแซมตัวเองได้” (self-healing elastomer) ซึ่งหลักการก็คือยางมันจะคืนรูปตัวเองโดยอัตโนมัติ โดยเมื่อเสียบสายชาร์จหรือหูฟังมันจะแหวกออก แต่พอถอดออกมันจะคืนรูปกลับเหมือนเดิมเพื่อกันน้ำ
ด้วยคุณสมบัติพิเศษของยางชนิดนี้จะช่วยให้กันน้ำ กันฝุ่นละออง รวมถึงก๊าซในสภาพแวดล้อมสารพัด และมีความเป็นไปได้ที่คุณจะใช้เซลฟี่กลางพายุฝนโดยที่เครื่องของคุณไม่พังเสียก่อน (ฮา) และในปัจจุบันมีหลายบริษัท เช่น SONY Z5, Galaxy S6 Active ที่มีเทคโนโลยีกันน้ำผ่านพอร์ตหูฟังและสายชาร์จ โดยไม่จำเป็นต้องมีจุกมาปิดกั้น (แต่ถึงอย่างนั้นประกันก็ขาดอยู่ดีหากน้ำเข้า)
การที่ Apple จดสิทธิบัตรไม่ได้หมายความว่า iPhone รุ่นหน้าจะกันน้ำในเร็ว ๆ นี้ และสิทธิบัตรที่ทาง Apple ยื่นจดไปนี้ก็ยังไม่แน่จัดว่าจะได้รับความคุ้มครองหรือไม่

