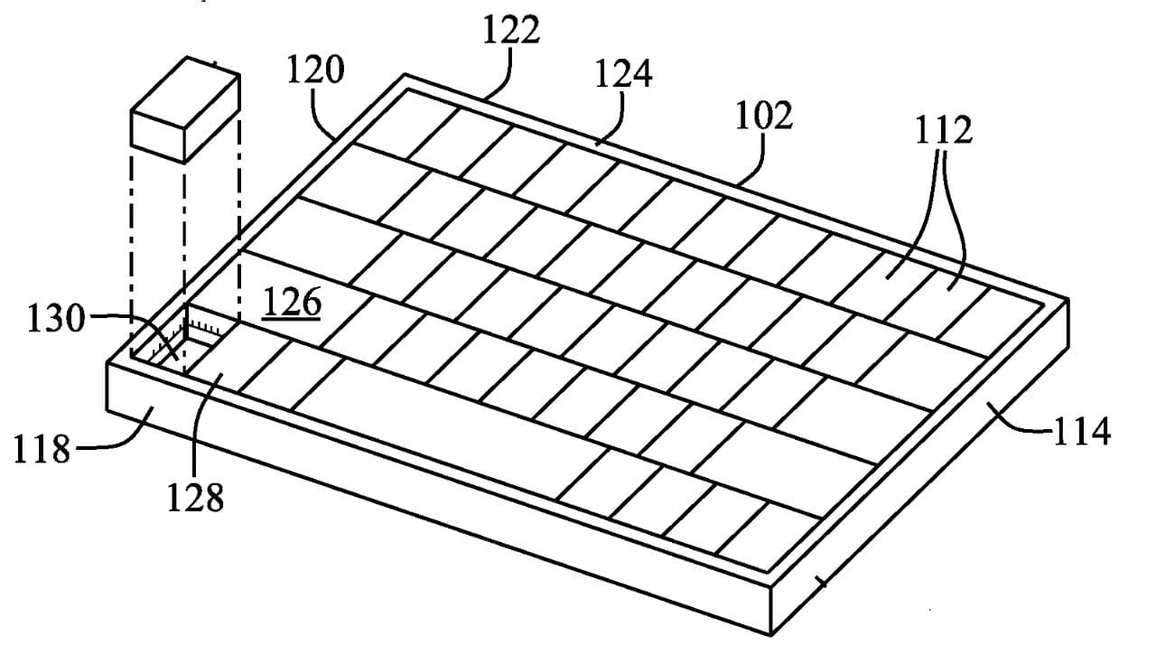
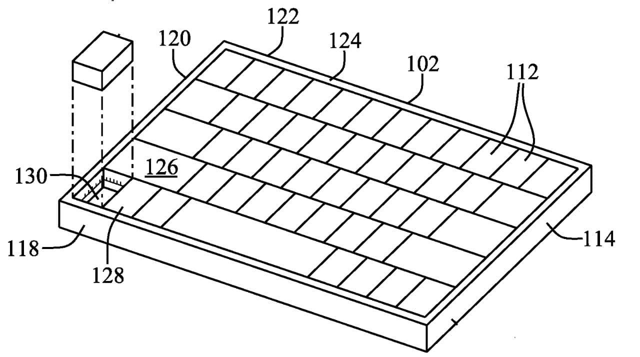
พบสิทธิบัตรที่ Apple กำลังวิจัยเกี่ยวกับการนำเอา คีย์ ๆ นึงที่อยู่บนคีย์บอร์ด MacBook Pro ให้สามารถแกะออกมาเพื่อใช้เป็นเมาส์ได้
สิทธิบัตรคีย์บอร์ด MacBook ที่แกะคีย์หนึ่งออกมาใช้เป็นเมาส์ได้

Apple วิจัยแทบทุกอย่างที่เป็นไปได้เกี่ยวกับการพัฒนาคีย์บอร์ด และการยื่นขอจดสิทธิบัตรที่เพิ่งพบใหม่นั้นมีรายละเอียดที่สุดว้าว และสิ่งนั้นก็คือ “Deployable Key Mouse”
สิ่งที่คำขอจดสิทธิบัตรนี้ได้นำเสนอ จะคล้ายกับแป้นพิมพ์ปกติ เช่น คีย์บอร์ดบน MacBook Pro ที่อาจจะมีคีย์พิเศษ 1 คีย์ที่สามารถถอดออกมาได้ ซึ่งอาจจะใช้เป็นปุ่ม shift หรือบางทีอาจจะเป็นปุ่ม Global ที่เป็นปุ่มใหม่บน Magic Keyboard ของ iPad ซึ่งจะสามารถใช้แทนเมาส์ได้ และถ้าหากเป็นตามนั้นมันจะกลายเป็นเมาส์ที่มีขนาดจิ๋วมาก
โดยในสิทธิบัตรบอกว่า คีย์แบบถอดได้ จะมีเซ็นเซอร์ตำแหน่ง ดังนั้น คีย์แบบถอดได้นี้จะทำงานเป็นอุปกรณ์ชี้ตำแหน่ง ที่ให้ความสะดวกสบาย แทบจะไม่ต้องพกเพราะเป็นส่วนประกอบนึงของคีย์บอร์ดอยู่แล้ว และมีความแม่นยำในการใช้ชี้ตำแหน่งต่าง ๆ บนอุปกรณ์

ซึ่งทาง Apple ก็ได้ให้ไอเดียว่า ผู้ใช้ที่มี laptop มักจะพกเมาส์แยกไปด้วย ดังนั้นเป้าหมายในที่นี้ไม่ใช่ทำขึ้นมาเพื่อแทนที่แทร็คแพด แต่เป็นการเพิ่มเมาส์เสริมเมื่อต้องการการควบคุมที่ละเอียดกว่ามาก ๆ การยื่นขอจดสิทธิบัตรเกี่ยวข้องกับการทำงานของคีย์ทั้งในตอนที่ถูกแกะออกมา และตอนที่ประกอบอยู่บนคีย์บอร์ด
และเมื่อถอดออกมาจากคีย์บอร์ดแล้วจะต้องมีความสามารถในการตรวจจับตำแหน่ง และจะต้องมีแบตเตอรี่ภายในตัวด้วย
สิทธิบัตรนี้เป็นสิ่งหนึ่งที่น่าสนใจ แต่ก็ดูเหมือนจะเป็นไปได้ยาก ยังไงเราก็ต้องติดตามกันต่อไปว่า Apple จะหยิบเอาเทคโนโลยีจากสิทธิบัตรต่าง ๆ ชิ้นใดมาใส่ไว้ในสินค้าในอนาคตบ้างค่ะ
ที่มา – appleinsider
