ล่าสุดมีรายงานสิทธิบัตรใหม่ของ Apple ที่พูดถึงการใช้ Sapphire Ceramic เป็นวัสดุตัวเครื่อง iPhone เพื่อให้รองรับการเชื่อมต่อแบบไร้สายมากขึ้น
ถึงแม้ข่าว iPhone รุ่นใหม่ปี 2017 หรือ iPhone รุ่นฉลองครบรอบ 10 ปี iPhone แนวโน้มส่วนใหญ่จะเน้นไปทางตัวเครื่องใช้วัสดุกระจกและจอ OLED แต่ล่าสุดก็มีข่าวเกี่ยวกับวัสดุอื่นอย่าง เซรามิค มาให้ติดตามกัน
iPhone Sapphire Ceramic
สื่อต่างประเทศได้มีการเผยสิทธิบัตรของ Apple ฉบับหนึ่งที่ว่าด้วยเรื่อง Laser Polishing Ceramic Material ที่บรรยายเกี่ยวกับการใช้ส่วนประกอบที่เป็นวัสดุเซรามิคที่ขัดด้วยเลเซอร์เป็นชิ้นส่วนประกอบใน iPhone

ในรายละเอียดเผยว่าเซรามิคที่จะใช้เป็นส่วนประกอบในการขึ้นรูป iPhone จะเป็นเซรามิคแบบโปร่งแสง เช่น Sapphire, Zirconia ซึ่งที่น่าสนใจคือตัว Sapphire ที่มีคุณสมบัติแข็งแรงทนทานจากรอยขีดข่วน
Sapphire Ceramic
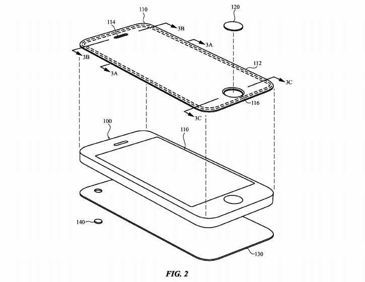
ในภาพแสดงให้เห็นการแยกชิ้นส่วนของ iPhone ออกมา 3 ส่วนหลัก ได้แก่ ตัวเครื่อง, ฝาหลัง, กระจกหน้า ที่น่าสนใจคือกระจกหน้าและฝาหลังมีการเว้นชิ้นส่วนอย่างปุ่ม Home, ลำโพง และกล้องหลังไว้ จึงมีโอกาสเหมือนกันที่ ฝาหลัง, กระจกหน้า จะใช้เป็นวัสดุ Sapphire Ceramic เพื่อป้องกันรอยขีดข่วน

อย่างไรก็ตาม Sapphire Ceramic ถึงแม้จะเป็นวัสดุที่มีคุณสมบัติค่อนข้างดี แต่มีข้อจำกัดด้านการผลิตซึ่งมีกระบวนการผลิตที่ค่อนข้างยาก สื่อต่างประเทศก็วิเคราะห์ว่าเป็นไปได้ยากเหมือนกันที่ Apple จะเปลี่ยนวัสดุของ iPhone ไปใช้แบบเซรามิคทั้งหมด

ต้องติดตามกันต่อว่า iPhone 8, iPhone รุ่นใหม่ปี 2017 หรือ iPhone รุ่นฉลองครบรอบ 10 ปี iPhone จะออกมาเป็นอย่างไร โดยทิศทาง ข่าวลือ iPhone 8 ส่วนใหญ่จะมีแนวโน้มไปที่วัสดุกระจกมาพร้อมกับจอโค้ง OLED แต่ทั้งนี้จะเป็นวัสดุกระจกหรือ Ceramic สุดล้ำ กันยายน 2017 นี้ทราบกันแน่นอน
ขอบคุณ – idropnews
