ล่าสุดมีรายงานว่า iPhone รุ่นใหม่ อาจมาพร้อม Find My iPhone ที่ทำงานได้ถึงแม้เครื่องจะถูกปิดอยู่ก็ตาม อ้างอิงจากสิทธิบัตรของ Apple ฉบับหนึ่งที่เขียนเกี่ยวกับคุณสมบัตินี้ไว้
Find My iPhone ที่ใช้กันอยู่ ณ ปัจจุบัน จะระบุตำแหน่งอุปกรณ์ไว้บนแผนที่ โดยต้องเปิดฟังก์ชันนี้ก่อน แต่ถ้าหากมีใครเจอตัวเครื่อง แล้วสามารถปิดเครื่อง ถอดซิมการ์ดออก, Find My iPhone ก็จะไม่สามารถทำงานได้

เครื่องปิดอยู่ ก็ตามเครื่องได้
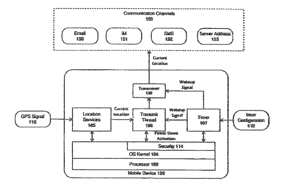
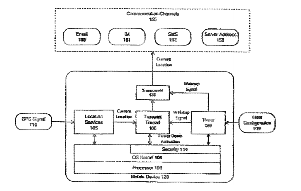
การตามหา iPhone หาย อาจจะทำได้ง่ายขึ้นในอนาคต เมื่อล่าสุดมีการเผยสิทธิบัตรจาก U.S. Patent and Trademark Office รหัส US20160323703 ที่ระบุกระบวนการทำงานบางอย่าง สือให้เห็นว่า ระบบสามารถระบุตำแหน่ง iPhone ได้ภายหลังการปิดตัวเครื่อง และจะทำงานอยู่ถึงแม้ว่าตัวเครื่องจะปิดไปแล้วก็ตาม

สิทธิบัตรดังกล่าวถูกเปิดเผยเมื่อวันที่ 6 พ.ค. 2016 ที่ผ่านมา รายละเอียดในสิทธิบัตรมีส่วนหนึ่งที่น่าสนใจกล่าวว่า “เมื่อเครื่องปิดอยู่ ก็จะยังมีการส่งข้อมูลตำแหน่งเป็นระยะ” เป็นไปได้เหมือนกันว่าหากตัวเครื่องดับลง Apple อาจตั้งเวลาให้ตัวเครื่อง เปิดพลังงานเป็นระยะ แล้วส่งข้อมูลตำแหน่งที่ตั้งผ่าน Location Service ไปยังช่องทางต่างๆ

ข้อมูลจะถูกส่งรายงานไปยังช่องทางต่างๆ อาจจะเป็น อีเมล์ รูปภาพ โค้ด หรือรูปแบบบางอย่างที่ช่วยให้ผู้ใช้สามารถติดตามเครื่องได้ แต่สิทธิบัตรนี้ยังไม่แน่ชัดว่า Apple จะนำไปใช้กับอุปกรณ์แบบ WiFi เช่น iPad และ MacBook หรือไม่ เพราะอุปกรณ์ดังกล่าวอาจต้องอาศัยการเชื่อมต่อเครือข่าย เพื่อส่งข้อมูลตำแหน่งที่ตั้ง
ต้องติดตามกันต่อว่าเราจะได้เห็นคุณสมบัติดังกล่าวใน iPhone 8 ที่จะเปิดตัวปีหน้านี้หรือไม่ หากนำมาใช้ใน iPhone และอุปกรณ์อื่นๆของ Apple จริง คาดว่าจะช่วยยกระดับการรักษาความปลอดภัยไปได้อีกระดับหนึ่งเลยทีเดียว
ขอบคุณ – cultofmac
 
					