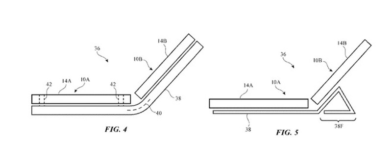
มีรายงานว่า Apple กำลังพัฒนา iPhone รุ่นพับได้อยู่ แต่จะเป็นแบบ 2 หน้าจอและพับเข้าหากันด้วยบานพับ (Hinge) ไม่ได้เป็นจอเดียวเหมือนแบรนด์อื่น
iPhone พับได้
Jon Prosser เผยว่าต้นแบบ iPhone พับได้ จะเป็นตัวเครื่องกรอบสแตนเลสเหมือน iPhone 11 แต่ไม่มีรอยบาก โดยที่หน้าจอนั้นจะมีรูเล็ก ๆ สำหรับ Face ID
Apple’s “foldable” iPhone isn’t really a foldable. 🧐
The current prototype has two separate display panels on a hinge.
Round, stainless steel edges like current iPhone 11 design.
No notch — tiny forehead on outter display that houses Face ID.
— Jon Prosser (@jon_prosser) June 15, 2020
สำหรับรูปแบบหน้าจอนั้น Prosser เผยว่า iPhone รุ่นพับได้จะมี 2 หน้าจอแยกจากกัน แต่เชื่อมต่อกันด้วยบานพับที่สามารถพับเข้าหากันได้ และไม่ใช่การเอา iPhone สองเครื่องมาต่อกัน แต่เป็นจอขยายที่เพิ่มเข้ามา
ลักษณะการพับจอนั้นจะไม่เหมือนกับ Galaxy Fold ที่เป็นหน้าจอแผ่นเดียวและสามารถพับเข้าหากันได้,

Prosser เชื่อว่า iPhone รุ่นพับได้จะลักษณะคล้ายกับ Surface Neo และ Surface Duo ที่เป็นจอคู่พับเข้าหากันด้วยบานพับ

ในรายงานไม่ได้ระบุว่า Apple จะเปิดตัว iPhone รุ่นพับได้เมื่อไหร่ แต่ข่าวลือเรื่องนี้มีมานานมากแล้วตั้งแต่การจดสิทธิบัตรที่เกิดขึ้นเมื่อปี 2016 และกลับมามีกระแสอีกครั้งเมื่อแบรนด์สมาร์ตโฟนต่าง ๆ เปิดตัวสมาร์ตโฟนพับได้มากขึ้น

ที่มา – macrumors
