พบสิทธิบัตรของ Apple Car อธิบายถึงระบบไฟอัจฉริยะในรถยนต์ซึ่งสามารถรับรู้และจัดการไฟในห้องโดยสารได้อย่างชาญฉลาดในเวลาที่ผู้โดยสารต้องการ
Apple จดสิทธิบัตรระบบไฟในห้องโดยสารอัจฉริยะสำหรับ Apple Car

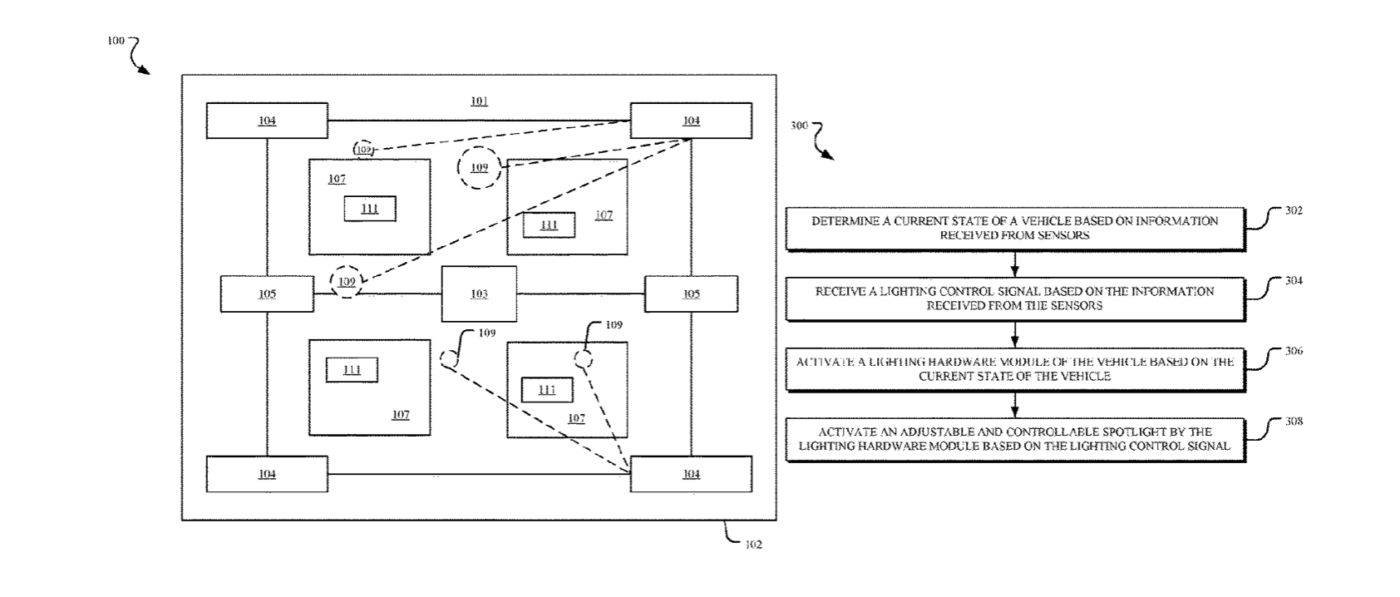
ไฟภายในรถทั่วไปเป็นแบบผู้โดยสารจะต้องควบคุมไฟเองโดยใช้สวิตช์หรือปุ่มไฟภายในรถแบบธรรมดา และไฟในรถอาจส่องสว่างเฉพาะบริเวณที่จำกัด ไม่สามารถที่จะส่องสว่างทั้งบริเวณห้องโดยสารได้
ตัวอย่างเช่นผู้ขับรถอาจพยายามค้นหาของที่หล่นลงบนพื้นรถในเวลากลางคืน ไฟที่ติดตั้งบนหลังคารถอาจไม่ช่วยอะไร เนื่องจากร่างกายของผู้นั่งอาจสร้างเงาหรือแสงอาจไม่ส่องถึงตำแหน่งที่ถูกต้องภายในรถ
โดยสิทธิบัตรได้อธิบายถึงปัญหาที่พบบ่อยเกี่ยวกับแสงภายในห้องโดยสาร และการค้นหาสิ่งของที่เราทำหล่นลงไปบริเวณที่วางเท้า Apple กำลังพูดถึงวิธีการจัดแสงตามโซน จากนั้นใช้เซ็นเซอร์และกล้องร่วมกันเพื่อดูว่าเกิดอะไรขึ้นและจะปรับแสงให้เหมาะสมโดยอัตโนมัติได้อย่างไร

ไฟแต่ละดวงสามารถเปิด-ปิดได้อย่างชาญฉลาด หรืออาจหมายถึงการตรวจจับสิ่งที่เราพยายามจะมองหา เมื่อรับสัญญาณควบคุมตามข้อมูลที่ได้รับจากเซ็นเซอร์จึงจะทำการเปิดใช้งานไฟได้
อีกตัวอย่างหนึ่งคือกล้องตรวจจับ ที่จะตรวจว่าเรากำลังหยิบหนังสือ นิตยสาร หรือเอกสารออกมาขณะนั่งที่เบาะหลังแล้วระบบจะเปิดไฟอ่านหนังสือโดยอัตโนมัติให้ หากเราหลับไปขณะอ่านหนังสือ กล้องก็จะตรวจจับการหลับตาของเราและปิดไฟอ่านหนังสือให้นั่นเอง
ในรถที่สามารถขับเคลื่อนด้วยตัวเอง การเดินทางในตอนกลางคืนก็มีระบบดับไฟเพื่อให้เรานอนหลับระหว่างทาง เมื่อรถเริ่มเข้าใกล้จุดหมาย ระบบก็จะเปิดไฟในห้องโดยสารอย่างโดยอัตโนมัติเพื่อค่อย ๆ ปลุกผู้โดยสารขึ้นมาเตรียมตัวก่อนถึงจุดหมาย
แน่นอนว่าระบบไฟจะสามารถควบคุมผ่าน Siri ได้ โดยระบบไฟส่องสว่างจะจดจำวัตถุ ตำแหน่งและโซนต่าง ๆภายในรถ และจะตอบสนองต่อคำขอหรือคำสั่งของผู้ใช้เพื่อใช้สำหรับการควบคุมไฟในห้องโดยสาร
ที่มา – 9To5Mac
