Tesla จดสิทธิบัตรเสาอากาศตัวใหม่ที่จะนำมาใช้กับรถ Tesla เป็นเสาอากาศแบบ Mutiband เพิ่มความแม่นยำในการส่งตำแหน่ง การนำทาง และอาจรองรับแอปที่ขับเคลื่อนด้วยตัวเอง
Tesla จดสิทธิบัตรเสาอากาศ GPS ใหม่ รองรับหลายย่านความถี่ แม่นยำขึ้น!

Tesla ได้อธิบายเกี่ยวกับอุปกรณ์ใหม่ในสิทธิบัตรว่า
ระบบเสาอากาศแบบมัลติแบนด์อันนี้สามารถวางอยู่ใต้และฝังไว้ในพื้นผิวกระจกด้านนอกของรถยนต์ได้ พร้อมทั้งยังสามารถเพิ่มความร้อนเพื่อละลายหิมะหรือน้ำแข็งที่สะสมอยู่เหนือพื้นที่กระจกที่ครอบคลุมเสาอากาศ ในการใช้งานบางอย่าง โครงสร้างเสาอากาศสามารถใช้เป็นเครื่องทำความร้อนเพื่อปรับปรุงประสิทธิภาพในสภาพอากาศที่ไม่เอื้ออำนวย ซึ่งจะถูกติดตั้งอยู่ห่างจากอุปกรณ์อิเล็กทรอนิกส์ที่ไวต่อความร้อน เรีกยได้ว่าเป็นระบบเสาอากาศที่มีระบบทำความร้อนในตัวที่มีลักษณะเป็นเกลียว
- เสาอากาศแบบมัลติแบนด์คือเสาอากาศที่ออกแบบมาเพื่อทำงานในหลายย่านความถี่ เสาอากาศแบบมัลติแบนด์ใช้การออกแบบโดยให้ส่วนหนึ่งของเสาอากาศทำงานสำหรับแถบความถี่หนึ่ง ในขณะที่อีกส่วนหนึ่งทำงานสำหรับแถบความถี่อื่น
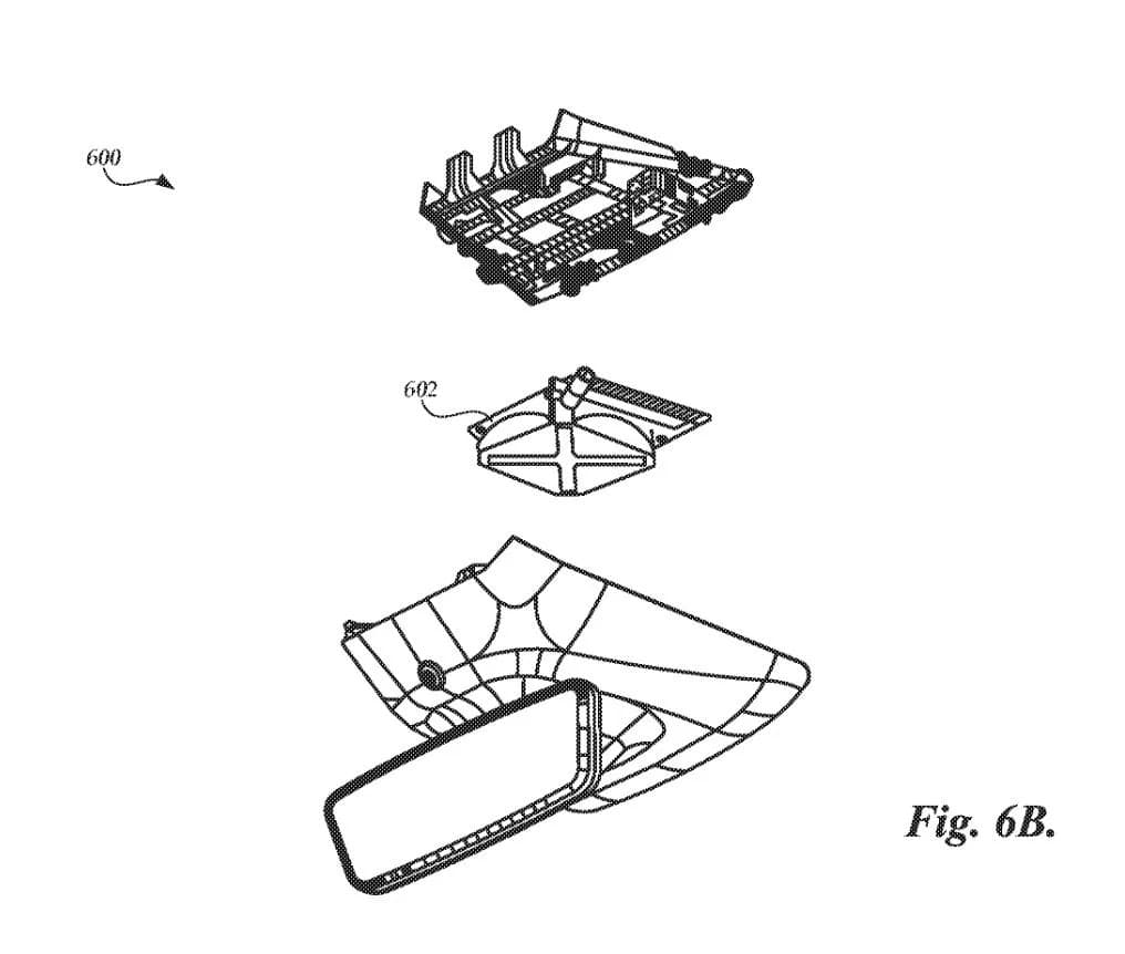
ด้านล่างภาพบางส่วนของเสาอากาศใหม่ ซึ่งจะอยู่ภายในกรอบกระจกมองหลัง

Tesla บอกว่าการออกแบบเสาอากาศอันใหม่นี้ จะมีความแม่นยำมากขึ้น และสามารถลดการใช้พลังงาน เสียงรบกวน และต้นทุนลงได้ด้วย
Tesla ยังบอกอีกว่า GPS ไม่ได้มีไว้ใช้สำหรับการนำทางเท่านั้น แต่ยังสามารถใช้กับแอปพลิเคชันที่ขับเคลื่อนด้วยตัวเองอีกด้วย
- ระบบเสาอากาศ GNSS อาจมีประโยชน์ในการให้สัญญาณ Global Positioning System (GPS) และสัญญาณอื่น ๆ ให้กับระบบรถยนต์สำหรับการทำงานต่าง ๆ ที่เกี่ยวข้องกับข้อมูลตำแหน่งที่แม่นยำ ตัวอย่างเช่น สัญญาณที่ได้รับจากเสาอากาศ GNSS สามารถทำงานกับอุปกรณ์เซ็นเซอร์อื่น ๆ (เช่น เซ็นเซอร์อัลตราโซนิก หรือ กล้อง) เพื่อวางแผนเส้นทางเพื่อนำรถไปยังตำแหน่งเป้าหมาย เช่น การเรียกรถไปหาเจ้าของ
- ระบบเสาอากาศ GNSS ยังมีประโยชน์สำหรับคุณสมบัติอื่น ๆ ที่เกี่ยวข้องกับข้อมูลตำแหน่งที่แม่นยำหรือทั่วไป เช่น การนำทาง ระบบอัตโนมัติ และคุณลักษณะอื่น ๆ ที่ขับเคลื่อนด้วยตัวเอง การค้นหาปั๊มน้ำมัน ร้านอาหาร หรือธุรกิจที่อยู่ใกล้เคียง รวมถึงการโฆษณาตามพื้นที่ด้วย
ณ ตอนนี้เทคโนโลยีนี้อาจจะเป็นเพียงสิทธิบัตรเท่านั้น Tesla อาจจะนำมาใช้จริงหรือไม่นำมาใช้ก็ได้ แต่ถ้าหากนำมาไว้ในรถจริงก็น่าจะมีประโยชน์มาก ๆ สำหรับหลาย ๆ ฟีเจอร์ที่อยู่ในรถค่ะ
ที่มา – electrek
