สิทธิบัตรของ Apple ได้เผยแพร่ให้เห็นเคสของ iPhone ที่มีส่วนของ MagSafe สามารถชาร์จ iPhone และรวมถึงชาร์จ AirPods แบบไร้สายได้ เราไปชมภาพสิทธิบัตรกัน
พพบสิทธิบัตรเคส MagSafe สำหรับ iPhone ที่สามารถชาร์จได้ทั้ง iPhone และ AirPods
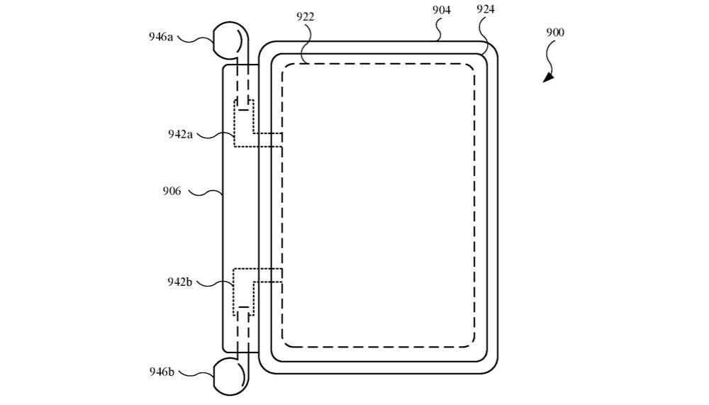
สิทธิบัตรนี้ยื่นครั้งแรกในเดือนสิงหาคมปีที่แล้ว และได้รับการเผยแพร่ไม่กี่วันที่ผ่านมา เผยให้เห็นภาพอุปกรณ์เสริมที่มีลักษณะคล้ายกับเคส iPhone มาพร้อมฝาปิด จากภาพเห็นได้ว่าเคสอาจมีแหล่งจ่ายไฟ (แบตเตอรี่) อยู่ โดยออกแบบมาเพื่อจ่ายไฟหรือชาร์จแบตเตอรี่ให้กับ iPhone ที่คล้ายกับการชาร์จด้วย MagSafe รวมถึงจ่ายพลังงานให้กับอุปกรณ์อื่น ๆ ได้ด้วย

ภาพประกอบสิทธิบัตรภาพแรกแสดงการชาร์จ AirPods ด้านหน้าเคส ซึ่งอาจจะติดด้วยแม่เหล็ก ส่วนรูปที่สองแสดงการชาร์จ AirPods ตรงส่วนด้านข้างของเคส

ข้อมูลนี่เป็นเพียงการจดสิทธิบัตรของ Apple เท่านั้น ซึ่งมีสิทธิบัตรมากมายที่จดไว้แต่ยังไม่เคยนำมาเผ่ยแพร่เป็นอุปกรณ์จริง ต้องรอติดตามกันต่อไปว่าอุปกรณ์ที่มีลักษณะคล้ายเคสแบตเตอรี่ชาร์จแบบ MagSafe นั้นจะถูกนำมาเปิดตัวและเปิดขายหรือไม่ ถ้าหากมาจริงคาดว่าน่าจะได้รับความนิยมแน่นอน
ขอบคุณ 9to5mac
