หรือว่าในอนาคต iPhone จะมีพอร์ต MagSafe, Apple จดสิทธิบัตร พอร์ตชาร์จ MagSafe สำหรับ iPhone มาแทนที่พอร์ต Lightning แบบเดิม
สิทธิบัตร พอร์ตชาร์จ MagSafe สำหรับ iPhone
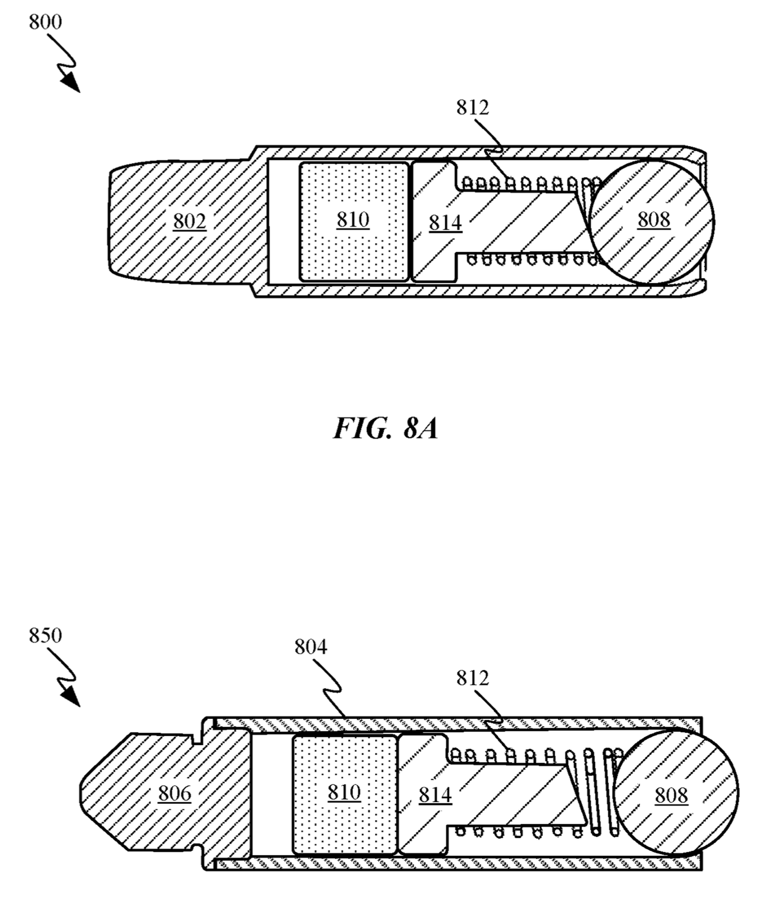
Patently Apple รายงานข้อมูลสิทธิบัตรพอร์ตชาร์จ MagSafe สำหรับ iPhone ว่าลักษณะจะคล้ายกับพอร์ต MagSafe ของ MacBook รุ่นเก่า, โดยใช้ดีไซน์เป็นหมุดเล็ก ๆ ไว้เชื่อมต่อกับหัวชาร์จและพอร์ตชาร์จของ iPhone

ในรายละเอียดสิทธิบัตรไม่ได้พูดถึงว่าสมาร์ตโฟนที่เชื่อมต่อนั้นคือ iPhone แต่ภาพนั้นสื่อให้เห็นว่าคือ iPhone, โดยพอร์ตชาร์จ MagSafe ด้านล่างนั้นอยู่ตรงที่เดียวกับพอร์ต Lightning
ลักษณะการชาร์จผ่านพอร์ต MagSafe นั้นจะใช้การยึดติดระหว่างหัวชาร์จกับพอร์จชาร์จด้วยแม่เหล็ก ประโยชน์คือถ้าเกิดเหตุการณ์เดินสะดุดสายชาร์จ, ตัวหัวชาร์จก็จะหลุดออกมาจากพอร์ตชาร์จ และไม่ดึง iPhone ตกลงมาด้วย

สำหรับ iPhone 12 นั้นมี MagSafe ที่ฝังอยู่ด้านหลังของเครื่อง ใช้ยึดติดกับที่ชาร์จด้วยแม่เหล็ก ซึ่งเป็นคนละแบบกับพอร์ตชาร์จ MagSafe ในสิทธิบัตรนี้

อย่างไรก็ตามสิทธิบัตรตัวนี้อาจเป็นแผนระยะยาวของ Apple เนื่องจาก Apple เพิ่งเปิดตัว MagSafe มาใน iPhone 12 และมีข่าวลือว่ากำลังพัฒนาก้อนแบตสำรอง MagSafe ออกมาด้วย ดังนั้นเป็นไปได้สูงว่า Apple น่าจะผลักดันเทคโนโลยี MagSafe ที่หลังเครื่องไปอีกนาน

ส่วนของพอร์ตชาร์จใน iPhone นั้น นักวิเคราะห์หลายรายเผยว่า Apple จะยังใช้พอร์ต Lightning ไปเรื่อย ๆ และมีโอกาสน้อยที่จะเปลี่ยนไปใช้ USB-C, Ming-Chi Kuo เผยว่าถ้า Apple จะเลิกใช้ Lightning ก็จะเปลี่ยนไปใช้แบบไร้พอร์ตเลย แล้วให้ชาร์จผ่าน MagSafe เป็นหลัก
นอกจาก iPhone แล้วก็มีข่าวลือว่า Apple จะนำ MagSafe กลับมาใน MacBook ด้วย โดยข่าวลือเผยว่า MacBook Pro รุ่นใหม่จะมีพอร์ต MagSafe, HDMI, SD Card
แน่นอนว่าสิทธิบัตรนั้นเป็นไอเดียเทคโนโลยีที่ Apple วิจัยไว้ก่อน ส่วนเราจะเห็นเทคโนโลยีนี้ผุดมาใน iPhone หรือไม่ก็ต้องรอดูกันต่อไป
ที่มา – macrumors
