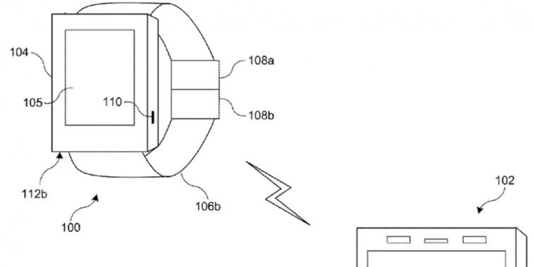
ช่วงนี้ Apple จดสิทธิบัตรกันค่อนข้างถี่มาก และแต่ละตัวก็เจ๋งทั้งนั้น โดยล่าสุดเผยให้เห็นว่า iPhone ในอนาคตเราจะไม่ต้องมานั่งปรับเพิ่มเสียงลดเสียงแจ้งเตือนอีกต่อไป เพราะสิทธิบัตรนี้เผยให้เห็นว่า Apple Watch และ iPhone เองจะจับเสียงรอบข้องโดยอัตโนมัติ เพื่อปรับความดังการแจ้งเตือนให้เหมาะสม เช่น ห้องประชุม, ตลาด, หรือทำเนียบรัฐบาล
จริงอยู่ที่การปรับความดังของสมาร์ทโฟน สามารถใช้อัลกอริทึ่มบนไมค์รอบตัวของสมาร์ทโฟนเอง เพื่อทำการวิเคราะห์เสียงรอบข้องรวมถึงตัดเสียงรบกวนเวลาสนทนาได้ แต่นั่นใช้ไม่ได้ผลถ้าหากคุณเก็บไว้ในกระเป๋าสะพายหรือแม้แต่กางเกง ดังนั้นจึงจำเป็นต้องมีอุปกรณ์อื่นที่มีไมค์มาชดเชย (กรณีนี้คือ Apple Watch) นอกจากนี้สิทธิบัตรนี้ยังแสดงให้เห็นว่าขั้นตอนวิธีการจดจำเสียง Siri ซึ่งอาจปรับให้เหมาะสมกับระดับที่แตกต่างของเสียงรบกวน

