iPhone 8 อาจใช้การสแกนใบหน้า (Face ID) แทนสแกนนิ้ว (Touch ID) ที่หน้าจอ แต่ในอนาคตเราอาจจะได้ใช้เทคโนโลยีนี้อยู่เพราะ Apple ได้จดสิทธิบัตรเทคโนโลยีสแกนนิ้วที่จอ ไว้แล้ว
สิทธิบัตร Acoustic Imaging Systems สำหรับ Touch ID ที่จอ
หากใครติดตามข่าว iPhone 8 (iPhone Edition) ก็จะพอทราบว่า Apple อาจตัดปุ่ม Home ออกไปแล้วเปลี่ยนไปใช้หน้าจอเต็มขอบ และระบบการยืนยันตัวตนนั้น จะไม่ใช้การสแกนนิ้ว (Touch ID) แต่จะเปลี่ยนไปใช้การสแกนใบหน้า (Face ID) แทน

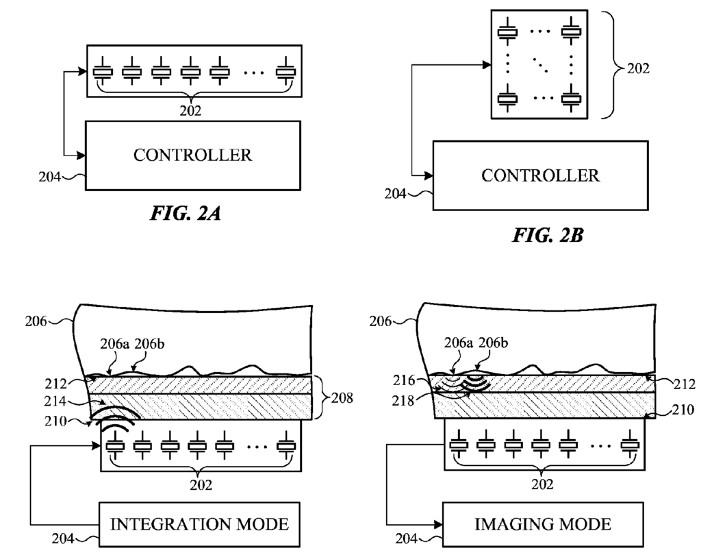
appleinsider ได้รายงานข้อมูลเกี่ยวกับสิทธิบัตรตัวหนึ่งของ Apple รหัส U.S. Patent No. 9,747,488 เกี่ยวกับเทคโนโลยีการสแกนนิ้วที่หน้าจอ ที่ชื่อว่า Acoustic Imaging Systems หรืออธิบายให้เข้าใจง่ายๆว่า เป็นระบบการแปลงคลื่นสะท้อนมาเป็นภาพนั่นเอง

เทคโนโลยีนี้จะช่วยให้ผู้ใช้ไม่จำเป็นต้องวางนิ้วลงบนเซ็นเซอร์โดยตรง (เหมือนกับปุ่ม Home ใน iPhone 7) ซึ่งผู้ใช้สามารถวางนิ้วไว้ที่หน้าจอ แล้วตัวระบบจะมีการส่งคลื่นไปยังเซ็นเซอร์เพื่อแปลงเป็นภาพแล้วตรวจสอบข้อมูล (ลายนิ้วมือ) อีกที (หลักการคร่าวๆ)

Touch ID ที่จอไม่ทันใน iPhone 8
สื่อต่างประเทศมองว่า Apple ประสบปัญหาการใช้เทคโนโลยีคลื่น Ultrasonic มาใช้ร่วมกับ iPhone 8 ที่ใช้หน้าจอ OLED และด้วยปัญหาที่เกิดขึ้นทำให้เทคโนโลยีดังกล่าวพัฒนาล่าช้า จนไม่สามารถนำมาใช้ทันได้ใน iPhone 8 ปีนี้

ถือว่าเป็นข่าวดีเหมือนกันที่ Apple ยังให้ความสนใจเกี่ยวกับเทคโนโลยี Touch ID ที่จอ โดยระบบการยืนยันบุคคลด้วย Touch ID นั้น Apple เริ่มใช้มาตั้งแต่ iPhone 5s และมีข่าวว่าจะถูกถอดออกไปใน iPhone 8 แต่ก็ไม่ได้มีข้อมูลยืนยันว่า Apple จะนำมาใช้ใน iPhone จริง เนื่องจากยังเป็นเพียงสิทธิบัตรเท่านั้น

เทคโนโลยีการสแกนนิ้วที่จอจะเป็นอย่างไรต่อนั้น ต้องติดตามกันก่อนในวันที่ 12 ก.ย. 2017 นี้ว่า Apple จะตัด Touch ID ออกจาก iPhone จอ OLED จริงหรือไม่ ติดตามกันต่อไป
ขอบคุณ – idownloadblog
 
					