Apple เผยสิทธิบัตรคีย์บอร์ด MacBook แบบใหม่ป้องกันฝุ่น เศษผง เศษอาหารและของเหลวที่เป็นสาเหตุของการทำให้คีย์บอร์ดใช้งานไม่ได้
Apple เผยสิทธิบัตรคีย์บอร์ด MacBook แบบใหม่

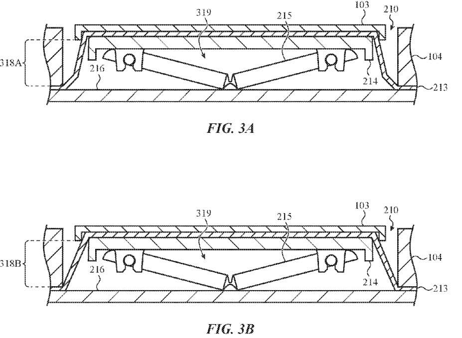
สาเหตุส่วนใหญ่ที่ทำให้คีย์บอร์ดของ MacBook และโน้ตบุ๊คทุกยี่ห้อ ใช้งานติดขัดและใช้การไม่ได้นั้น ส่วนหนึ่งเกิดจากเศษซากต่างๆ ที่ตกลงบนคีย์บอร์ดแล้วก็หลบอยู่ใต้แป้นพิมพ์ เช่น เศษขนม ลูกแม็กเย็บกระดาษ เศษผม เศษเล็บ เป็นต้น สิ่งเหล่านั้นจึงส่งผลให้คีบอร์ดมีปัญหาเช่นกดไม่ลง กดลงแต่ไม่สนิทก็ทำให้พิมพ์ไม่ติดบ้างหรือพวกน้ำตาลหลอมละลายก็ไปเคลือบแผงวงจรก็ทำให้เกิดปัญหาได้เช่นกัน
Apple ทราบปัญหานี้จากผู้ใช้ MacBook หลายคน โดยเฉพาะกับคีบอร์ดรุ่นใหม่ที่มีชื่อเรียกว่า Butterfly Keyboard ที่ทาง Apple ได้พัฒนาตั้งแต่ MacBook 12″ เป็นต้นมา พบว่าส่วนใหญ่ที่เจอปัญหาคีบอร์ดกดไม่ติดนั้นพบว่ามีเศษต่างๆ ไปติดใต้คีย์บอร์ด วิธีการแก้ไขของ Apple Support ทำโดยนำสเปรย์มาพ่นใต้แป้นนั้นและทำความสะอาดเพียงเท่านี้ก็กลับมาใช้งานได้ดังเดิม (อันนี้ผมเจอมากับตัวละ)

ดังนั้น เมื่อทราบปัญหาทาง Apple ก็ได้ออกแบบ Butterfly Keyboard ของตัวเองให้แข็งแรงทนทานมากกว่าเดิมและเพิ่มเติมคือระบบป้องกันเศษซากเหล่านี้ด้วย จึงเกิดเป็นสิทธิบัตรใหม่ขึ้นมา โดยแหล่งข่าวรายงานว่าทาง Apple ได้ยื่นเรื่องจดสิทธิบัตรนี้ตั้งแต่ปี 2016 แล้วแต่ว่าเพิ่งจะเปิดเผยสื่อสาธารณะเมื่อไม่นานมานี้
ยังไม่มีข้อมูลว่าสิทธิบัตรนี้จะถูกนำมาผลิตใช้งานจริงเมื่อไหร่แต่เชื่อว่าหากสิ่งไหนเป็นผลดีต่อผู้ใช้ Apple ก็ไม่รีรอที่จะทำ ดังนั้นเราต้องคอยชมกันต่อไปเมื่อมีการอัปเดต MacBook, MacBook Pro รุ่นใหม่เราจะได้เห็นสิ่งใหม่นี้ในเครื่องรุ่นใหม่หรือไม่
ขอบคุณ 9to5mac
