ผุดมาอีกหนึ่งสิทธิบัตรใหม่ของ Apple ที่น่าสนใจมาก ๆ เป็นขาตั้งกล้องที่มีที่ชาร์จในตัว ออกแบบมาเพื่อใช้กับ iPhone ที่มีกล้องระดับโปร
Apple จดสิทธิบัตรขาตั้งกล้อง คล้ายกิมบอล(Bymbal) สำหรับ iPhone

Apple เพิ่งได้สิทธิบัตรขาตั้ง iPhone ที่ออกแบบมาเพื่อเชื่อมต่อกับ gimbal และมีความสามารถชาร์จ iPhone ในระหว่างการใช้งานได้
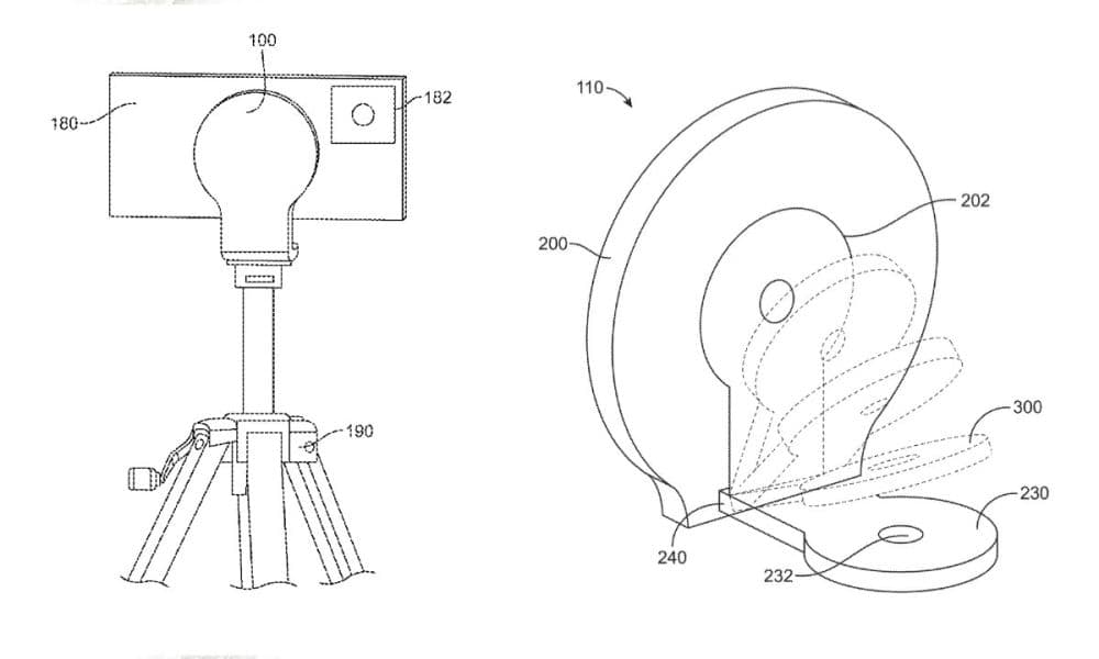
สิทธิบัตร “อะแดปเตอร์สำหรับการชาร์จและป้องกันการสั่นของกล้อง” ได้รับการอนุมัติจากสำนักงานสิทธิบัตรของสหรัฐอเมริกา โดย Apple อ้างว่า iPhone ในปัจจุบันมีกล้องที่มีคุณภาพสูงมากจนสามารถแทนที่กล้อง SLR แบบเดิมและกล้องอื่น ๆ ได้ในการใช้งานหลาย ๆ อย่าง แต่ก็ยังขาดโครงสร้างพื้นฐานที่จะนำกล้อง iPhone มาใช้งานอยู่
Apple บอกว่า กล้อง SLR มีอุปกรณ์กันสั่นจำนวนมากและมีหลายประเภท เช่น ขาตั้งกล้อง ไม้กันสั่น และอุปกรณ์อื่น ๆ แต่ทำไมกล้องบนโทรศัพท์ถึงไม่มีแบบเดียวกัน ?
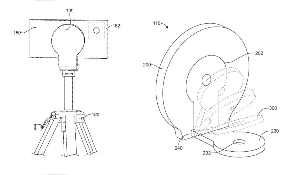
ดีไซน์ของขาตั้งกล้องในสิทธิบัตรตัวนี้คล้ายกับตลับแป้ง หรือกระจกแต่งหน้าที่พับและแยกออกมาเป็นขาตั้งกล้องได้ ส่วนที่ชาร์จก็สามารถพับราบและเปิดมุม 90 องศาได้

ในสิทธิบัตรมีคำแนะนำในการใช้งานร่วมกับอุปกรณ์อื่นเพิ่มด้วย โดยแนะนำให้ใช้อะแดปเตอร์ ตัวยึด และอุปกรณ์อื่น ๆ ที่มีขนาดเล็กมาใช้งานร่วมกัน ทำให้ช่างภาพสามารถพกพาอุปกรณ์เหล่านี้ได้อย่างคล่องตัว
สิทธิบัตรยังครอบคลุมถึงวิธีการทำงานของระบบในรูปแบบต่าง ๆ อีกด้วย แม้ว่าสิทธิบัตรจะไม่ได้กล่าวถึง “MagSafe” แต่เทคโนโลยีที่อธิบายไว้นั้นเข้ากันได้ดีกับเทคโนโลยีการชาร์จและการติดตั้งแบบแม่เหล็กที่อธิบายไว้ในสิทธิบัตรความยาวกว่า 20 หน้า
ส่วนสินค้าตัวนี้จะถูกทำออกมาขายหรือไม่ ต้องรอติดตามกันค่ะ
ที่มา – idropnews
